سلسلة (300kN) HBT305D
نظام متكامل (بقوة 300kN) لفحص حديد التسليح والأنابيب والمعادن الإنشائية حتى 180 درجة
Rebar Bend & Re-Bend Testing Machine
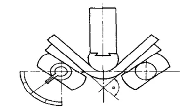
صُممت منظومة اختبار الثني الرأسي لتقديم تقييمات دقيقة وشاملة لعمليات الثني وإعادة الثني للمواد المعدنية، بما في ذلك القضبان، الأنابيب، الألواح، والمقاطع المضلعة، بالإضافة إلى حديد التسليح عالي المقاومة. كما تدعم المنظومة اختبارات الثني بزاوية 180 درجة، وإعادة الثني، وثني الأنابيب بزاوية 90 درجة، مع قوة تشكيل هائلة تصل إلى 300 كيلونيوتن، مما يضمن أقصى درجات الموثوقية في تقييم المقاومة الميكانيكية للمواد الإنشائية.
المعايير
GB/T 232, GB/T 244, GB/T 3091, GB/T 8162, GB/T 13793, GB/T 28897, ISO 7438, ISO 8491, ISO 559, ISO 6935, BS 4449, BS 4482, BS EN 10080, DIN488-2, SS 212540, ASTM A775, ASTM A706
اطلب عرض سعر
المواصفات الفنية
| أقصى قوة دفع، كيلو نيوتن | 300 |
| أقصى مشوار للأسطوانة الرأسية، مم | 500 |
| سرعة الأسطوانة الرأسية بدون عينة، مم/ثانية | 0.5-4 |
| قطر أسطوانة الارتكاز، مم | 45 |
| المسافة بين الركائز (المساند)، مم | 10-630 |
| قطر شياق الثني (محور الدوران)، مم | وفقاً لمعايير الاختبار |
| قطر العينات المستديرة، مم | Ф6-Ф50 |
| أبعاد العينات المسطحة (السُمك × العرض)، مم | (6-40)×50 |
| زاوية الثني القصوى، درجة | 180 |
| مصدر الطاقة | 380V, 50Hz (ثلاثي الطور، 3 فاز) |
| استهلاك الطاقة، كيلو وات | 5.5 |
| الأبعاد الرئيسية، مم | 1470×735×2390 |
| الوزن، كجم | 1700 |
| أبعاد وحدة القدرة الهيدروليكية، مم | 500×880×990 |
| وزن وحدة القدرة الهيدروليكية، كجم | 250 |
| الزيت الهيدروليكي | زيت هيدروليك 46 مضاد للتآكل، 90 لتر |
سير عملية الاختبار
اختبار ثني حديد التسليح بزاوية 180 درجة
الخطوة 1: وضع العينة
الخطوة 2: بدء الثني
الخطوة 3: إعادة الشياق (عمود الدوران)
الخطوة 4: الثني حتى 180 درجة
الخطوة 1: ثني حتى 90 درجة
الخطوة 2: إعادة ثني إلى 20 درجة
نوفر تشكيلة واسعة من الملحقات لكافة أنواع أجهزة الاختبارات الميكانيكية






